麻辣社区-四川第一网络社区

校外培训 高考 中考 择校 房产税 贸易战
阅读: 8628|评论: 11

[四川群众呼声] 请问阳光蓬安这个网站上。

[复制链接]

发表于 2018-9-2 18:29 | 显示全部楼层 |阅读模式
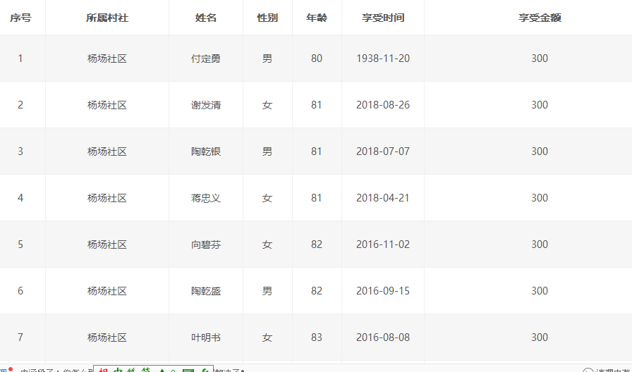
           请问是忙中出错还是。还是不作为呢?平时你们的工作能力我们看不到。问题是网上公布的,全世界人都能查看到了。今天上网来.阳光蓬安。看一看。看到高年龄补贴这一栏,全县有两乡一镇出现错误。你们看到了吗?
打赏

微信扫一扫,转发朋友圈

已有 69 人转发至微信朋友圈

   本贴仅代表作者观点,与麻辣社区立场无关。
   麻辣社区平台所有图文、视频,未经授权禁止转载。
   本贴仅代表作者观点,与麻辣社区立场无关。  麻辣社区平台所有图文、视频,未经授权禁止转载。

 楼主| 发表于 2018-9-2 18:33 | 显示全部楼层
1.2..
3.
QQ鎴浘20180902183310.png
QQ鎴浘20180902183229.png
QQ鎴浘20180902183150.png

发表于 2018-9-2 18:36 | 显示全部楼层
仔细

发表于 2018-9-2 22:06 来自麻辣社区客户端 | 显示全部楼层

发表于 2018-9-2 23:29 | 显示全部楼层
1938就在享受高龄补贴?没几个高龄吧,民国政府没这项目

发表于 2018-9-4 16:18 | 显示全部楼层
看享受时间那一列

发表于 2018-9-4 16:52 | 显示全部楼层
吃白饭的干部!

发表于 2019-9-29 12:09 来自麻辣社区客户端 | 显示全部楼层
我退武证名字和身份证名字不一样,该怎么办?

2016年优秀网友

发表于 2019-9-29 13:30 | 显示全部楼层
习惯了就好
发表于 2019-9-29 17:14 | 显示全部楼层
居保局的领导同志们,工作需努力哦! 我2019的农村社会养老保险怎么还没更新,钱也没扣,1年就要快过去了,2020年又要开始了???
发表于 2019-10-3 21:28 | 显示全部楼层

2015年优秀网友

发表于 2019-10-3 22:29 | 显示全部楼层
雕昔除 发表于 2019-9-29 12:09
我退武证名字和身份证名字不一样,该怎么办?

到派出所与公安户政申请更正应该没问题吧
高级模式 自动排版
您需要登录后才可以回帖 登录 | 注册

本版积分规则

复制链接 微信分享 快速回复 返回顶部 返回列表 关闭